motbanner.jpg

Two-Degree of Freedom Proportional Integral Derivative (2-DOF PID) Controller for Robotic Infusion Stand

Infusion Stand is one of the medical supportive tools in the field of biomedical that assist in holding and carrying medications to patients via intravenous injections. Mobilization of Infusion Stand from a place to another place is necessary not only for the patients itself but also for the nurses. Therefore, this leads to not only uneasiness but also inconvenience for both parties. Therefore, to improve the existing situation and current Infusion Stand in the market, a proposal to design and implement a prototypic Robotic Infusion Stand is submitted. In this paper, 2-Degree of Freedom

Artificial Intelligence
Circuit Theory and Applications
Software and Communications

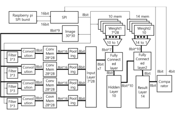
High Speed, Approximate Arithmetic Based Convolutional Neural Network Accelerator

Convolutional Neural Networks (CNNs) for Artificial Intelligence (AI) algorithms have been widely used in many applications especially for image recognition. However, the growth in CNN-based image recognition applications raised challenge in executing millions of Multiply and Accumulate (MAC) operations in the state-of-The-Art CNNs. Therefore, GPUs, FPGAs, and ASICs are the feasible solutions for balancing processing speed and power consumption. In this paper, we propose an efficient hardware architecture for CNN that provides high speed, low power, and small area targeting ASIC implementation

Circuit Theory and Applications
Software and Communications

Investigation of properties limiting efficiency in Cu2ZnSnSe4-based solar cells

We have investigated different nonidealities in Cu2ZnSnSe4-CdS-ZnO solar cells with 9.7% conversion efficiency, in order to determine what is limiting the efficiency of these devices. Several nonidealities could be observed. A barrier of about 300 meV is present for electron flow at the absorber-buffer heterojunction leading to a strong crossover behavior between dark and illuminated current-voltage curves. In addition, a barrier of about 130 meV is present at the Mo-absorber contact, which could be reduced to 15 meV by inclusion of a TiN interlayer. Admittance spectroscopy results on the

Energy and Water
Circuit Theory and Applications
Software and Communications

Hierarchical proactive caching for vehicular ad hoc networks

Recently, emerging vehicular applications are increasing the demand of vehicles which form significant burdens on network backhaul and represents a cause to the quality of experience (QoE) decay of the vehicular users. Proactive caching is a promising technique to mitigate the load on core networks by caching some of the expected data items. This work proposes a hierarchical proactive caching scheme which jointly considers caching in vehicles and roadside units (RSUs). Minimization of the vehicle communication latency is the main objective of our study. The optimization problem is formulated

Energy and Water
Circuit Theory and Applications
Software and Communications

Geographic Routing with Cooperation for Reliable Paths in Device-to-Device Networks

In this paper, we introduce a novel geographic routing with cooperation scheme for 5G Device-to-Device ad hoc networks. The prime focus of our scheme (coined Cooperative Routing for Reliable Paths (CRRP)) is to enhance the routing performance in cooperative communication networks in terms of the path length and reliability. In particular, it introduces novel algorithms for cooperative relay and forwarder selections, which strike the best balance between path length and achieved symbol error rate, compared to prior work in the literature. Moreover, it exhibits the flexibility of deciding

Software and Communications

Optimal random access and random spectrum sensing for an energy harvesting cognitive radio

We consider a secondary user with energy harvesting capability. We design access schemes for the secondary user which incorporate random spectrum sensing and random access, and which make use of the primary automatic repeat request (ARQ) feedback. The sensing and access probabilities are obtained such that the secondary throughput is maximized under the constraints that both the primary and secondary queues are stable and that the primary queueing delay is kept lower than a specified value needed to guarantee a certain quality of service (QoS) for the primary user. We consider spectrum sensing

Software and Communications
Agriculture and Crops

Optimal random access for a cognitive radio terminal with energy harvesting capability

We consider a cognitive radio scenario with an energy harvesting secondary user (SU) attempting to access a primary channel randomly. We assume multipacket reception (MPR) capability and investigate a system in which the SU may or may not exploit the primary feedback messages. The access probabilities are obtained to maximize the secondary throughput under the constraints of primary queue stability and such that the primary queueing delay is kept below a specified value in order to guarantee a certain quality of service (QoS) for the primary user (PU). We investigate the impact of the energy

Software and Communications
Agriculture and Crops

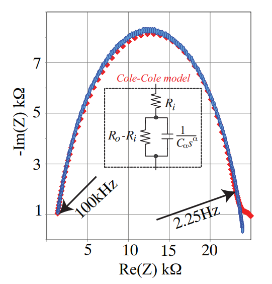
Cole-Cole Bio-Impedance Parameters Extraction from a Single Time-Domain Measurement

We show that the four parameters of a single-dispersion Cole-Cole bio-impedance model can be extracted from an one time-domain measurement with a fixed frequency. In particular, a periodic triangle waveform current excitation signal is injected into the biological sample under study while measuring the voltage developed across this sample in a galvanostatic measurement setup. The voltage response due to this triangle-wave excitation is firstly analytically derived in closed form. After that the Flower Pollination optimization Algorithm (FPA) is applied to extract the unknown model parameters

Circuit Theory and Applications
Software and Communications
Agriculture and Crops

The deterministic multicast capacity of 4-node relay networks

In this paper, we completely characterize the deterministic capacity region of a four-node relay network with no direct links between the nodes, where each node communicates with the three other nodes via a relay. Towards this end, we develop an upper bound on the deterministic capacity region, based on the notion of a one-sided genie. To establish achievability, we use the detour schemes that achieve the upper bound by routing specific bits via indirect paths instead of sending them directly. © 2013 IEEE.

Software and Communications
Agriculture and Crops

Cold flow numerical simulation inside local pottery furnace for different designs for the air inlet

One of the many pleasures of living in Egypt is having the opportunity to visit places like a village called Tunis in El-Fayoum governorate which is a touristic village and export art and handicraft such as Pottery for 3-4 decades. The clay processing in the traditional pottery industry contains several stages. The process and quality of the pottery have to be improved to reduce pollution and the manufacturing round time which could be done through improving the heating process. Towards this goal, turbulent three-dimensional numerical simulations for the in-use air inlet and a modified design

Healthcare
Software and Communications
Agriculture and Crops